Producator termopane Salamander - Bucuresti

Servicii Tâmplarie aluminiu, Tâmplarie PVC, Termopane
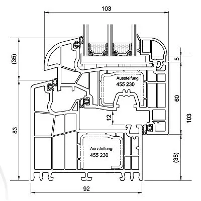
Compania noastra producatoare de termopane Salamander isi mentinea pozitia in companiile de top din Bucuresti. Prin investitii in tehnologii noi si pregatirea continua a personalului calificat reusim sa livram cel mai bun raport calitate pret intr-o industrie foarte competitiva. Sistemele de termopan Salamander produse in fabrica noastra au devenit un produs in care am integrat beneficiile si avantajele unei ferestre termopan intr-un produs de inalta calitate pentru confortul si singuranta casei dumneavoastra.